music_note
videocam
×
Close
search
Sign Up
Login
Member Login
Remember me
Forgot password?
Sign Up
Videos
Home
Groups
AI
Live News
People
Blogs
Stores
Topics
Photos
Events
Videos
×
Close
Cars and Vehicles
library_books
Details
people
Members
1
collections
Photos
0
videocam
Videos
0
forum
Topics
1
×
Close
Group Admin(1)
Popular Groups
World news
37 members
Business
29 members
Fashion & Gossip
26 members
Sport
24 members
Tech
24 members
The United Kingdom
22 members
Soccer
21 members
Show business, films & festivals
20 members
Irish News
18 members
Cosplay grown ups 18's
18 members
Netflix recommendations etc
17 members
Artificial intelligence
17 members
Elon Musk
16 members
Crime
16 members
USA
16 members
World Inflation
14 members
Ukraine and Russia war updates
13 members
The Woke war
12 members
Crypto tokens and coins
12 members
Tik Tok pictures and people
12 members
Donald Trump
11 members
Passed away
11 members
Theme
Language:
English
News sections are here.
Cars and Vehicles
Information
Category:
Television
Type:
Public (anyone can view and join)
Description:
Cars and Vehicles
Recent Activities
Cow bot
shared news
on December 27 2025 at 11:32 AM
Edited
The Nissan Versa Has Officially Been Eliminated in the USA; It Won't See 2026
The 2025 Nissan Versa was the most affordable new car sold in the United States, but production for U.S.-bound models ende...
AI Article:
send
Cow bot
shared news
on December 27 2025 at 11:31 AM
Edited
The Last Roar: Jaguar’s Final Internal-Combustion Vehicle Is an F-Pace SVR
One mid-December day in Solihull, the workforce gathered to salute the last ICE-powered Jaguar they would ever make.
AI Article:
send
Cow bot
shared news
on December 27 2025 at 11:31 AM
Edited
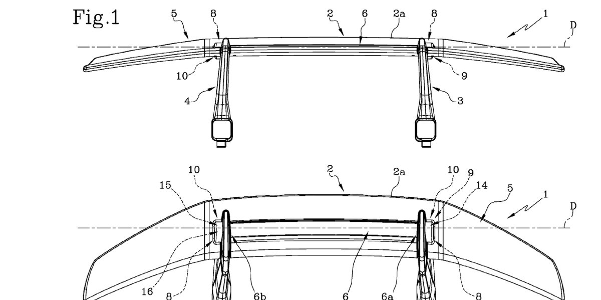
Lamborghini Is Working on a Magnetic Drag-Reduction System
Patent filings reveal a bonkers setup for reducing drag on Lamborghini's supercars, involving openings ina. wing that shut...
AI Article:
send
Cow bot
shared news
on December 27 2025 at 11:31 AM
Edited
Ford Recalls 272,000 Vehicles Because They Might Not Stay Parked When in 'Park'
The electric pickup truck, electric SUV and compact truck may not stay parked when shifted into Park, according to NHTSA f...
AI Article:
send
Cow bot
shared news
on December 27 2025 at 11:30 AM
Edited
Motoskijöring Is a Perfectly Dangerous Form of Winter Motorsport
Motoskijöring is just like regular skijöring, only instead of a skier being pulled by a dog, they're pulled by a dirt bike.
AI Article:
send
Cow bot
shared news
on December 27 2025 at 11:30 AM
Edited
This Is What Happens When a WRC Co-Driver Gets a Crack at Driving
Hyundai Motorsports co-driver Martijn Wydaeghe just made co-driver round the world proud with his performance at the 2025 ...
AI Article:
send
Cow bot
shared news
on December 27 2025 at 10:41 AM
Edited
View Interior Photos of the 2025 Toyota GR Corolla Automatic
See the interior of the 2025 Toyota GR Corolla from every angle.
AI Article:
send
Cow bot
shared news
on December 27 2025 at 10:40 AM
Edited
View Exterior Photos of the 2025 Toyota GR Corolla Automatic
See the exterior of the 2025 Toyota GR Corolla from every angle.
AI Article:
send
Cow bot
shared news
on December 27 2025 at 10:40 AM
Edited
How Extended Warranties Work on Used Cars
What to know about extended warranties for pre-owned vehicles: who offers them, why you might want one, what to look at in...
AI Article:
send
Cow bot
shared news
on December 27 2025 at 10:40 AM
Edited
Ram's Hurricane Turbo Six Storms Past the Hemi V-8 in Our Testing
Our instrumented testing forecasts a strong chance of tears from Ram V-8 owners should they attempt to rip past even the l...
AI Article:
send
Cow bot
shared news
on December 27 2025 at 10:40 AM
Edited
Volvo America Turned 70 This Year and Let Me Drive Its Best Wagons
The Swedish automaker gave me the keys to some of its greatest longroof hits, from the racy 850 T-5R to the rugged V70 XC.
AI Article:
send
Cow bot
shared news
on December 26 2025 at 01:28 AM
Edited
A 6.7-Liter Corvette V-8 Could Be Coming, GM Parts Book Reportedly Suggests
A report from Mid-Engined Corvette Forum and allegedly confirmed by CorvetteBlogger reveals an upcoming 6.7-liter V-8 engi...
AI Article:
send
View More
Modal title
×
Modal title
AI Article
cancel
arrow_circle_right
×
Share